北京有新房,海淀又一“王炸”
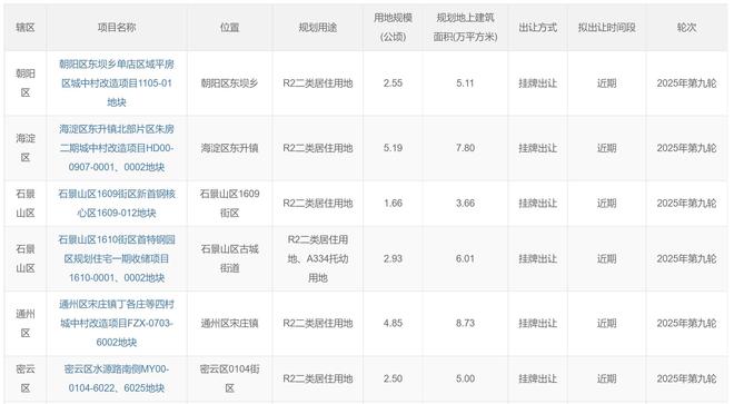
11月21日晚,北京市规委官网发布了2025年第九轮商品房出让名单,共涉及6块地块,用地面积近20公顷,建筑规模近36万平方米。上述土地计划于近期交付。从地区分布看,中心城区4例(朝阳区1例、海淀区1例、石景山区2例),通州区、密云区各1例。数据来自北京市规划委员会官方网站。在这六块地块中,最引人注目的无疑是海淀朱坊地块。朱坊二期城中村改造项目HD00-0907-0001、0002地块位于海淀区东升镇。该地块性质为纯住宅用地,用地占地面积5.19公顷,规划上部建筑面积7.8万平方米。该地块紧邻北五环路,西邻京藏高速公路。最近的地铁站是8号线永泰庄站,距离约1.5公里。地块以西约3公里处,有今年海淀的两个热点项目:震云和建发海燕。两个项目网上签约均价在13万/㎡左右。所属清河地段二手价在6.7万/㎡左右。珠坊地块周边生活配套丰富。距清河万象汇、西三旗万喜汇等大型商业设施约3公里。附近还有奥林匹克森林公园北公园、东小口城市公园等休闲设施。虽然不如西二旗的产业优势,但1公里的中关村东升科技园也聚集了数百家高科技企业远离这片土地的北部。而据近期消息报道,字节跳动已租用东升科技园二期1号楼,抖音内容运营、研究管理、判断等约2000名字节跳动员工预计将于明年3月搬迁至此。也可为珠坊项目未来的销售提供购买力支持。另一个亮点是朝阳区东坝1105-01地块。该地块为R2二级住宅用地,用地面积2.55公顷,规划上部建筑面积5.11万平方米。东坝地块位置毗邻地铁3号线东坝站、东坝南站、姚家园站,居住环境浓厚,万达广场、金隅购物中心、北京第一中西医结合医院(东八院区)、北京体育休闲公园等配套设施星罗棋布。东坝二手房价格45,000/㎡。地块周边二手房有金隅荟景园4.7万/㎡左右、首开艾维6.6万/㎡左右、口碑稍好一点的保利首开9.4万/㎡左右。石景山区涉及的房屋有两处,均位于古城的街道上。一是1609地块,毗邻地铁11号线新首钢站,周边有柳工汇购物广场、济南环宇汇购物中心、首钢公园、北京冬奥公园等生活配套设施。 1609地块位置。一是1610地块,毗邻地铁1号线、6号线、S1号线换乘站、苹果园站、11号线北新安站。周边有西龙多购物中心、京西大悦城、古城公园、首钢公园等生活配套设施。该地块位置位于1610地块。此外,通州区新住宅位于位于六环外宋庄镇。北边是宋庄画家村。生活设施不错。西北并不远。这里有宋庄艺术小镇和安贞医院,还有宋庄北侧第一长街。通州宋庄地块位于密云新地块内,位于密云区0104地块。周边有北京密云万象汇、燕内奥特莱斯购物中心、国泰百货(密云店)、北京大学第一医院密云院区、奥林公园等配套设施。密云地块位置
特别声明:以上内容(如有则包括照片或视频)由自媒体平台“网易号”用户上传发布。本平台仅提供信息存储服务。
注:以上内容(包括图片和视频,如有)由网易HAO用户上传并发布,网易HAO是一个社交媒体平台,提供信息仅适用于存储服务。 上一篇:爱情正逢其时,新青蛙女王唐倩婷人生的双面
下一篇:没有了
下一篇:没有了





